Kardangelenkwelle

Diskutiere Kardangelenkwelle im R 850 GS und R 1100 GS Forum im Bereich Motorrad Modelle; Moin,Moin Ich habe ziemlich viel Spiel am Hinterrad meiner GS 1100 (Bj.99).Auf der Nabe ca.8mm. Ich vermute das die Gelenkwelle ausgeschlagen...
A

Aspe

Themenstarter
Joined
Jun 13, 2013
Messages
4
Location
Schleswig Holstein
Modell
R 1100 GS Bj.99
Moin,Moin

Ich habe ziemlich viel Spiel am Hinterrad meiner GS 1100 (Bj.99).Auf der Nabe ca.8mm. Ich vermute das die Gelenkwelle ausgeschlagen ist. Weiß jemand eine gute Adresse für Ersatzgelenkwellen?


Gruß Aspe
 
Larsi

Larsi

Joined
Jul 10, 2007
Messages
25,322
Location
Irgendwo im Weserbergland
Modell
R 1150 GS, R 1200 S
mir kommt das jetzt gar nicht soooo viel vor.
ich gehe davon aus, du hast einen gang eingelegt und dann vor und zurück gedreht?
hast du das mal an rad oder felge gemessen? dann könnte ich mit meiner 1150 vergleichen.
 
P

pius

Joined
Jul 14, 2011
Messages
645
Location
Riesenbeck
Modell
R1150GS
Hallo Fremder, willkommen

wer bist du, wo kommst du her? Sehr schön wäre es, wenn du dich erst vorstellen würdest, dafür gibt es eine eigens dafür vorgesehene Rubrik.

Ich glaube, so aus der Hüfte geschossen sind 8 mm ok, mach dir keine Sorgen

Gruß Edgar
 
A

Aspe

Themenstarter
Joined
Jun 13, 2013
Messages
4
Location
Schleswig Holstein
Modell
R 1100 GS Bj.99
mir kommt das jetzt gar nicht soooo viel vor.
ich gehe davon aus, du hast einen gang eingelegt und dann vor und zurück gedreht?
hast du das mal an rad oder felge gemessen? dann könnte ich mit meiner 1150 vergleichen.
Ja,hatte den 1.Gang eingelegt und dann vor und zurück gedreht. Sind ca.7,5 cm wenn man das Rad dreht. Ich würde sagen ein bißchen viel,weil Gelenkwellen eigentlich fast kein Spiel.haben
 
Larsi

Larsi

Joined
Jul 10, 2007
Messages
25,322
Location
Irgendwo im Weserbergland
Modell
R 1150 GS, R 1200 S
da summiert sich aber noch das spiel im achsantrieb und im getriebe dazu.
ich geh mal am rad drehen ...

edit:
aufm reifen knapp 7cm
 
P

pius

Joined
Jul 14, 2011
Messages
645
Location
Riesenbeck
Modell
R1150GS
Hi,
nachgemessen sind es bei meiner 1150GS fast 7 cm am Außenreifen und ich gehe weiterhin davon aus, dass dieses Spiel völlig normal ist. Es sind etliche Verbindungen (wenn ich sie so nennen kann) in denen sich geringes Spiel befinden kann, bis zum Motor der dabei evtl auch noch ein wenig mitdreht.

Gruß wohin auch immer
Edgar
 
L

locke1

Joined
May 16, 2009
Messages
1,589
das thema hatten wir vor ein paar jahre schon mal bei den 11ern
völlig normal, dat jehört so:cool:

Gruß bernd
 
gerd_

gerd_

Joined
Apr 17, 2004
Messages
16,514
Hi
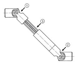
Bevor das Kardangelenk ausgeschlagen ist, ist das HAG falsch distanziert (hat zu viel Spiel). Aber 7 cm sind normal. Das ist bei einer Kette auch nicht anders.
Die Gelenklager der Kardanwellen tauscht ELBE, komplette Wellen gibt es nur bei BMW (570EUR)
gerd
 
MarkusMueller

MarkusMueller

Joined
Mar 7, 2013
Messages
7
Location
Stuttgart
Moin,Moin

Ich habe ziemlich viel Spiel am Hinterrad meiner GS 1100 (Bj.99).Auf der Nabe ca.8mm. Ich vermute das die Gelenkwelle ausgeschlagen ist. Weiß jemand eine gute Adresse für Ersatzgelenkwellen?
Gruß Aspe
Moin Aspe,

Wahrscheinlich bin ich sowieso schon zu spät dran, dennoch kann man ja nie wissen was in Zukunft passiert.
Ich habe mir neulich auch die Gelenklager austauschen lassen und das zu einem fairen Preis wie ich finde. Es sind Spezialanfertigungen, da ich viel Schlamm fahre und ich die Teile ständig warten musste...
Schau doch einfach mal bei Durbal rein, ich finde die haben ein ganz gutes Angebot.
Ansonsten kann ich dir noch Iglus empfehlen... Die sind zwar qualitativ leicht besser aber deutlich teurer.
Kommt natürlich immer darauf an was du möchtest dun genau suchst und inwiefern das Teil zum Rest passt.

Lieber Gruß
Markus

images.jpeg
 
gerd_

gerd_

Joined
Apr 17, 2004
Messages
16,514
Hi
Was sollen die beiden Links aussagen? Der erste mit Gelenkköpfen, der zweite zu einem Sportgerätemarkt.

Bei mir klingelt es bereits bei >>>ch habe ziemlich viel Spiel am Hinterrad meiner GS 1100 (Bj.99).Auf der Nabe ca.8mm.<<< weil ich nicht weiss was damit angedeutet werden soll. In welcher Richtung hat das Ding Spiel?

>>> Ich vermute das die Gelenkwelle ausgeschlagen ist.>>> Da müsste es vor/rückwärts, also in Drehrichtung Spiel haben. In allen anderen Richtungen ist die Gelenkwelle vollkommen unbeteiligt. Andererseits sind 8mm gar nix. Wie sind sie gemessen? Solange die Ausgangswelle des Getriebes nicht blockiert ist kann das ganz locker am Klauenspiel liegen.

Nebenher: Die Gelenkwellen sind herstellerspezifische Bauteile. Es gibt Betriebe die die Nadellager der Gelenke ersetzen (ca.250EUR). Jemanden der die Dämpfer für den Ungleichlauf ("Gummidämpfer") repariert habe ich noch nicht entdeckt.
gerd
 
Thema:

Kardangelenkwelle

Top