Swt
Nabend.
A- hat die 2V kein Schauglas ---nur wenn man eins kauft und es reinschraubt beim Getriebe!
B---der Kolben wird irgendwann auswandern und zwar auf die Seite wo der andere noch vorhanden ist---logisch.
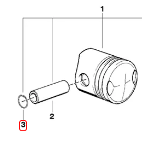
C----Du wirst nicht drumherum kommen beide Zylinder zu ziehen---- must ja nicht von den Abstreifringen sondern nur soweit bis du an den Bolzen rankommst.
Dann würde ich aber beide oder alle vier neu machen.
Vielleicht trifft du beim ziehen gleich den richtigen.
Jetzt musst Du dich entschieden ---
Rechts zuerst oder links zuerst.
Viel Glück
P.s Alles kein Hexenwerk.
Ist in 2 Std erledigt.
Ich hoffe man sieht das Schauglas?
Das wird nur eingeschraubt natürlich mit ner Dichtung und das ist fürs GetriebeÖl!
A- hat die 2V kein Schauglas ---nur wenn man eins kauft und es reinschraubt beim Getriebe!
B---der Kolben wird irgendwann auswandern und zwar auf die Seite wo der andere noch vorhanden ist---logisch.
C----Du wirst nicht drumherum kommen beide Zylinder zu ziehen---- must ja nicht von den Abstreifringen sondern nur soweit bis du an den Bolzen rankommst.
Dann würde ich aber beide oder alle vier neu machen.
Vielleicht trifft du beim ziehen gleich den richtigen.
Jetzt musst Du dich entschieden ---
Rechts zuerst oder links zuerst.
Viel Glück
P.s Alles kein Hexenwerk.
Ist in 2 Std erledigt.
Ich hoffe man sieht das Schauglas?
Das wird nur eingeschraubt natürlich mit ner Dichtung und das ist fürs GetriebeÖl!
Last edited:





, da werde ich es mir wohl in der Garage gemütlich machen müssen. Zum Glück ist sie im Keller des Hauses und somit einigermassen temperiert 

?? Den Motor UT drehen
.
. ich habe jetzt schon mal angefangen, die Krümmerschrauben mit Kriechöl einzusprühen, bis Samstag werden sie sich dann hoffentlich lösen lassen 